欢迎您访问天顿高新(北京)科技有限公司!

全国服务热线:18501355858    18500755858

SinoTD7 圆管换能器

换能器配备 5m 微小圆形 3 芯公插头线缆,另配 50m 微小圆形 3 芯母插头延 长线缆(线缆不受力)。 换能器水下工作时长为 6 个月(偶尔 8-9 个月),暂定橡胶材质,聚氨酯灌封备选。

产品详情

1

产品简介

 换能器配备 5m 微小圆形 3 芯公插头线缆,另配 50m 微小圆形 3 芯母插头延 长线缆(线缆不受力)。 换能器水下工作时长为 6 个月(偶尔 8-9 个月),暂定橡胶材质,聚氨酯灌封备选。

2

技术规格

工作频段

5kHz-9kHz

发送电压响应

≥138dB@7kHz    带内起伏≤±2.5dB

发射声源级

≥195dB@7kHz

接收灵敏度

≥-185dB@7kHz  带内起伏≤±3dB

水平指向性

全向

垂直指向性(-6dB)

≥120 °

耐压

6MP

 

备注:

1.   换能器配备 5m 微小圆形 3 芯公插头线缆,另配 50m 微小圆形 3 芯母插头延 长线缆(线缆不受力)。

2.   换能器水下工作时长为 6 个月(偶尔 8-9 个月),暂定橡胶材质,聚氨酯灌封备 选。

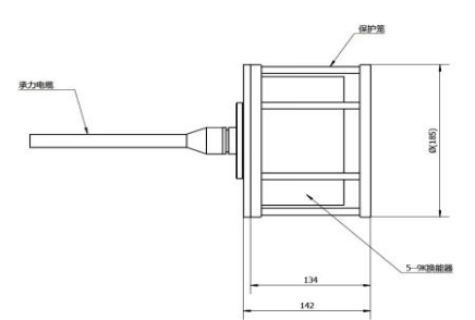
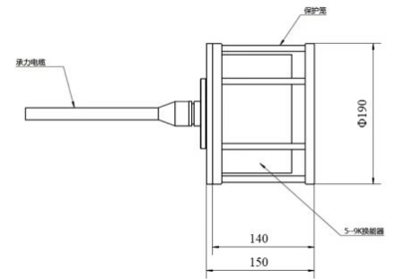
3.   换能器外部含可拆卸式不锈钢保护架,底端配备法兰盘,安装孔位如下图所示。

安装孔位示意图

不锈钢保护架示意图(图中尺寸与实物无关)

 

实物预计尺寸

换能器预计尺寸: Ф190mm×150mm(不含连接器)

5-9kHz 换能器实物预计尺寸示意

测试说明

测量声源级时,换能器与标准水听器布放方位如下图所示,声源级仅测量 7kHz 频点。

企业微信截图_17509875449092.png

测量发送电压响应及接收灵敏度时,换能器与声源布放方位如下图所示。

企业微信截图_17509875687492.png

测量垂直指向性时,换能器与声源布放方位与测量接收灵敏度时一致。换能 器以 xoz 面为旋转平面,绕 oy 轴旋转,以ox 方向为灵敏度归一化参考方向。

企业微信截图_1750987578412.png

相关产品